- City Fajr Shuruq Duhr Asr Magrib Isha
- Dubai 04:20 05:42 12:28 15:53 19:08 20:30
So what if Samsung and LG have already come out with a bendable smartphone. Apple could well be working on a new device with all around display and the proof of that is evident from a recent filing for a patent in the United States.
The company has applied for a patent for ‘an electronic device with a wraparound AMOLED display.’ Apple’s idea is to create a device where no part or side remains unused.

The proposed patent proposed a product where the entire device is enveloped with a bendable screen and features such as touch and gesture control, including face recognition.
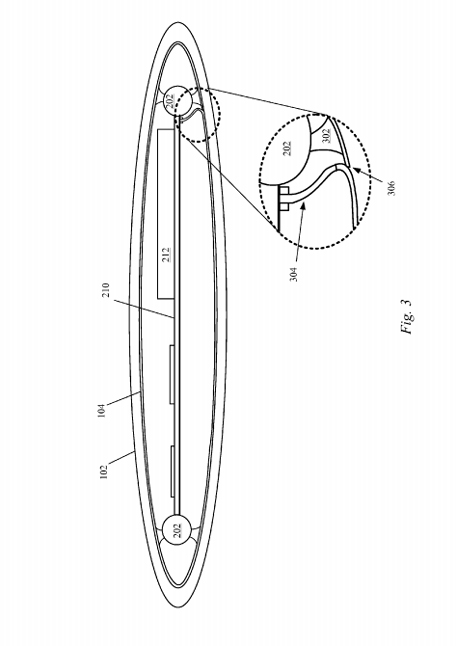
According to the patent, the product includes at least one transparent housing and a flexible display assembly enclosed within the transparent housing.

“In the described embodiment, the flexible display assembly is configured to present visual content at any portion of the transparent housing,” the description of the product states.
The current standard form factors of majority of portable electronic devices has the display on one side while the rear side is unused except for incorporating camera lenses, flash and of late fingerprint scanners.
“Since many of these buttons and switches have fixed functionality they cannot always be incorporated into third party applications. Therefore, there exists a need for an improved form factor for portable electronic devices, which allows functionality to extend to more than one surface of the device,” the patent notes.

Further describing the proposed idea the note says, “a flexible display can be folded in such a way as to form a continuous loop such that images (still or video) can be presented in a wrap-around manner in which the images appear to be presented in a continuous loop. The flexible display can be folded into a tightly wound configuration and placed within an enclosure at least a portion of which is transparent. In some cases, the enclosure can be formed of glass at least a portion of which is made opaque (at least translucent) by the addition of ink or other masking material. In other cases, however, the entire enclosure can be fully transparent in which case the folded flexible display can unwind when placed within the glass enclosure. Once fully unwound, the flexible display can present images at any portion of the glass enclosure.”
Currently it is only a Russian company called Yota Devices that has launched a product with a dual side display.

The first generation Yota Phone that was launched last December has a dual side display. The company recently unveiled the second generation YotaPhone 2 with better specifications such as a 5 inch AMOLED screen touch enabled on both sides and improved battery life.
The YotaPhone is currently on sale in Russia, Germany, Austria, France, Spain and the UK and is expected to hit the Middle East soon.
Follow Emirates 24|7 on Google News.